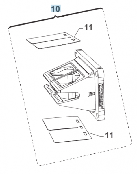
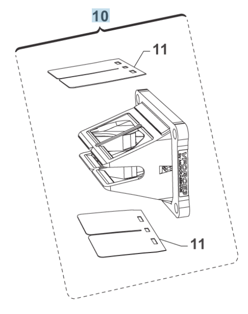
Membran 125cc '08 V-FORCE 3. # 20061`
Membran 125cc '08 V-FORCE 3. # 20061`

Membran 125cc '08 V-FORCE 3. # 20061`

Art.Nr.:
20061
Lieferzeit:
ca. 1 Woche ca. 1 Woche (Ausland abweichend)
259,00 EUR

inkl. 19% MwSt. zzgl. Versand

Hersteller Informationen

TM Moto italy
TM MOTO SRL UNIPERSONALE
via Fano 6
61122 Pesaro (PU)
info@tm-moto.it
www.tm-moto.it
Tel.: +39 0721 25113
http://www.tm-moto.it

Für weitere Informationen besuchen Sie bitte die Homepage zu diesem Artikel.